Loading... Please wait...is a 350 W super-high-pressure (USH) mercury short-arc lamp engineered for high-luminance UV/visible output with a compact arc for precise illumination. Its tightly confined plasma and stable arc deliver reliable, repeatable irradiance for critical optical processes. Typical service life of 1000 hours (application/drive-condition dependent). Common cross-references include Osram's HBO 350 W//S (69228). Designed for vertical operation (±45°) with forced cooling and constant-power drive, the USH-350DS supports applications from fluorescence microscopy to spot UV curing and mask aligner exposures.


All values per the official Ushio USH-350DS datasheet unless noted.
| Manufacturer / Model | Ushio USH-350DS |
| Ordering Code (MPN) | 5000508 |
| Lamp Type | Super-high-pressure mercury short-arc (Hg) |
| Nominal Power | 350 W |
| Operating Voltage | 60 V ± 5 V |
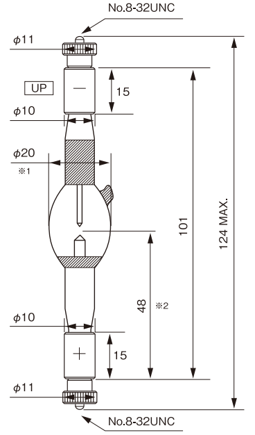
| Burning Position | Vertical ±45° |
| Forced Cooling | Required |
| Base Temperature (max) | 200 °C |
| Bulb Temperature (typical) | 650–750 °C |
| Current Ripple (p-p, max) | 3 % |
| Trigger Voltage (min) | 4 kV DC |
| Minimum Supply Voltage | 120 V |
| Cold Arc Gap | 2.8 mm |
| Total Luminous Flux | ≈ 22,700 lm |
| Representative UV Intensity (1 m) | 360–370 nm: ~152 µW/cm² [representative] |
| Average Rated Life | ~ 1000 h (application dependent) |
| Overall Length (OAL) | 124 mm max |
| Light Center Length (LCL) | ≈ 48 mm (±2 mm) [NOTE TO REVIEW: verify exact tolerance from drawing] |
| End Mounts / Threads | No. 8-32 UNC (each end) |
| Lamp Current (absolute max) | 9 A (do not exceed; observe power spec) |
| Weight | ~ 36 g |
| Common Cross-Refs | OSRAM HBO 350 W/S (69228); USH350DS |
Cross-reference and retail naming examples shown for buyer orientation.

High-pressure short-arc lamps are consumables. Standard coverage is limited to manufacturing defects upon receipt/installation; damage from mishandling, improper cooling, poor equipment maintenance and drive conditions is excluded.
SKU# USH 5000508 — Ushio USH-350DS, 350 W. Click Add to Cart for fast checkout or request a quote at sales@sciencelighting.com for volume discount orders and scheduled replacements.
Choose a currency below to display product prices in the selected currency.
US Dollar
EURO - EUROPEAN UNION
JPY -JAPAN YEN
CAD - CANADA
INR - INDIA
CNY - CHINA
MXN - MEXICO
GBP - GREAT BRITAIN
SGD - SINGAPORE
KRW - SOUTH KOREAN REPUBLIC
AUD - AUSTRALIA
SAR - SAUDI ARABIA
ZAR - SOUTH AFRICAs
CHF - SWITZERLAND
ARA - ARGENTINA
BRL - BRAZIL
CLP - CHILE
COP - COLOMBIA
DKK - DENMARK
IDR - INDONESIA
NOK - NORWAY
NZD - NEW ZEALAND
PHP - PHILIPPINES
PLN - POLAND
SEK - SWEDEN
TWD - TAIWAN
UAH - UKRAINE
THB - THAILAND
MYR - MALAYSIAN RINGGIT
AED - UNITED ARAB EMIRATES
BGN - BULGARIA
HUF - HUNGARY
CZK - CZECH REPUBLIC
ILS - ISRAEL
EGP - EGYPT
TRY - TURKEY
RON - ROMANIA
KES - KENYA
PKR - PAKISTAN
IQD - IRAQ
KWD - KUWAIT
VND - VIET NAM
JMD - JAMAICA
DOP - DOMINICAN REPUBLIC
JOD - JORDAN
PEN - PERU